点标签看更多好帖
开启左侧

[手机] iPhone 8或提前上市!新功能要逆天!这次你两个肾都不够用了... ...

[复制链接]
发表于 2017-2-22 02:00 | 显示全部楼层 |阅读模式

马上注册,结交更多好友,享用更多功能,让你轻松玩转社区。

您需要 登录 才可以下载或查看,没有帐号?注册

x
相信看到标题只是关于iPhone 8,你肯定要问:iPhone 7s 去哪了?据外媒报道,今年的发布会上,如无意外,苹果将推出 iOS 11等系统。同时,由于本次发布会正逢纪念苹果手机10周年,很可能就直接把iPhone 8也给提前发布了。要知道,乔布斯就曾经就在WWDC上发布了经典的iPhone 4!6 [, r0 o) ^, v3 L  q4 J2 r. o

% r$ q2 V9 n2 ]# p' e# j
' O6 L: |  R3 Q+ y/ `) m, D

, V5 L0 z1 x, L! F
3 ]3 U9 l  W# \今年苹果发布会的消息比以往都要来得更早一些,虽然iPhone 7刚刚发布半年,可近日苹果公司就发布了第28届年度全球开发者大会(WWDC)的邀请函。今年的全球开发者大会将于6月5-9日举办,举办地为圣何塞的McEnery会议中心。
- x; n, W# ~9 z- n" C: ^, A7 h1 E! h& q+ R9 b5 S
+ ~1 O  u6 Y3 B, z$ n6 U0 Z
! \" W3 M5 i$ E/ M
: ?  }1 s. K; i3 ~
作为潮人必备的高端手机,今天小编带大家提前看看 iPhone 8到底有多屌!!9 w6 C* C  Z/ y3 v& F7 v( z, [

/ G0 D& v4 V6 l( _
; f2 G: K  a% r; h1 t5 t- z1、取消Home键设计!1 o/ ]) t: J, p% s6 b2 G2 }$ t

6 F: P- H+ B3 D9 f* l
9 U* w1 _* w, y3 [据透露,新设计将采用、嵌入式 Touch ID 传感器。来取代原先的 “ Home ” 键 ,使外型更为简约。
% Z: L) w. L1 O/ t+ W9 ]# l  A0 b4 b1 g& H* T. \" [7 b

0 V$ X8 K/ [2 r
) h8 y% Y: t) z1 b% a
1 z( t- v, ?( S, V! \
是不是仿佛看到了《黑镜 BlackMirror》里,可互相评分、未来感十足的大哥大。但是,年年发布前吹上天 ,IP 5时,已经传说要无边框屏。IP 6时,就说要取消 home 键位了。
. S2 L) Y1 S3 {/ @) |8 n
5 d9 Y2 Z- A9 i& E$ |( v
- x' u% ], ?: F5 [" `- L看看现在手上的 IP7…还是这个6s 升级版的样,能让人高潮的“ 无 home 键”设计,别再跳票了!
7 L; O7 X4 t# z3 U4 `0 I
3 X5 s- v, c9 D/ r
! R( ~4 ^& ^* P0 ]. U0 B' ]) M2、iPhone 8“ 双曲面屏 ”
! ~9 V8 Y3 T2 W9 t; _* N2 F- K( o$ o3 ]  J6 L

" o3 H! d3 ^4 V' GApple 已经为推出全新 iPhone、测试了 10 多款不同的版本,其中包括了、有双曲面屏以及无Home键设计。
" i: n! o: v5 V# \4 M6 h3 \3 m6 g0 a7 a, \, A  [' }3 B$ l

$ h' s' ?1 A: K; s% V4 r8 G

% ^: f$ e! x& e+ Q* B- W% Z& R9 F: B4 W- [5 [; C) y/ r
同时,《mashable》 也传出、全新 iPhone 将配备、更高分辨率的 OLED 显示屏,从而让手机更加轻薄。有著名苹果分析师也曾在自己的公众号中爆料,iPhone 8的像素密度将达到 521ppi,远高于现有的 iPhone,iPhone 7的像素密度仅为 320ppi。另外,用于显示应用内容和主屏幕界面的显示屏区域的分辨率将达到 2436×1125,而目前 iPhone 7的屏幕分辨率仅为 1334×750。更High的看片体验就要来了,你懂的哦~3 m, f/ [" p# i2 v; P+ K) W

: A- T, B1 ^/ H& S0 c2 c8 a% A
& L1 `6 F5 I$ ?- r7 O4 f8 u3 H

" \7 j( K" t/ z0 V% P$ |1 n5 V1 b$ B: K3 w! p8 _$ o8 A" _
(小科普:什么是 OLED 显示屏?)0 _6 h, D8 g$ Y9 H  r. W3 C8 ?
传说中 iPhone 8 升级的另一重点,就是显示屏和摄像头技术,OLED 显示屏是 LTPS 新代衍生品,每个像素都可自行发光、呈现逼真色彩。比当前 iPhone 的显示效果更好。已在Apple Watch、新版 MacBook Pro 的 Touch Bar 等产品中,都用了这种技术。目前的传言是,iPhone 8的厚度为6.5毫米,而整部手机的重量仅为115克。9 j! {2 [3 G$ R9 o4 C$ ~& q2 ^+ `

0 \  b  ~  f* B1 [2 g
4 }  C" Q+ t+ L1 B* m9 e# }! k
3 |6 `0 v5 N$ o  d$ o) m$ V+ }

, b# ~7 p0 C$ V: S8 U3、全玻璃机身
% P1 f4 M* ^% i' S1 c7 ?
' {# n! S4 w' v# X) D6 G9 g" t! ?
回归 iPhone4!很多人说,买了 IP 7 亮黑、第一天就被划了,要是 IP 8 还这样就打死它,这下真的不用担心了。
$ Z% Y+ c  z3 f0 k' l. c$ T9 |* }% S8 n# o" I
+ f) W2 D* K# s0 V

, H5 H# _" m# X% {; m2 t& l, U: ~9 k( J# S& s" \) y% [; Z
新版 iPhone 设计,将回归类似于iPhone 4、iPhone 4s 的玻璃面板,以全玻璃打造机身。
" u# C, _" G5 D+ j5 K2 T) @" `% \3 l. B
9 B6 T/ l. }) {1 Z$ _

7 U" o: o: _  R! x' S) O8 F4 |! H7 B* z1 P  R& N' P) ]; \; ?% I* l) a
可能首次采用不锈钢边框,全玻璃外壳、可能是为了,让 iPhone 8 支持无线充电。又是两季的概念,这次实现的几率很大?反正老图又能拿来用了。: c! R/ @) }1 v5 N$ J
, B' z" F; ^- B5 B3 t

4 W4 R! k; ^' a' b7 z2 F  y4、眼睛,面孔识别技术
9 ]9 W: f5 Z) X3 d
7 y  V( q! ?1 {( E% [% e- A$ D9 p6 ^9 r% v! x  Q( n& ^; E3 ]0 j
摩根大通分析师Rod Hall近日透露,除了配备5.8英寸OLED曲面屏之外,iPhone 8还拥有另一项黑科技,那就是支持3D激光扫描,能够进行人脸识别。
" o& L: C& Y) Q" n! f
  d) a4 Z# B- i: x+ N$ m( \/ _5 Y$ N8 [* p) w8 l

, `# H! x1 E! |4 f# N/ C( G+ m
  D' u1 j$ p: O  D! X+ V这位分析师表示,3D激光扫描比Touch ID指纹识别更为安全,同时它也不易受使用环境的影响,指纹识别在一些潮湿环境中会出现不灵敏的情况。而且,激光扫描还将为未来苹果使用AR和VR技术铺平道路。
; x  Z( @  {3 G9 Q9 w
; S" x& G7 x' d+ H8 y  H+ Y1 @1 i# i! }: @; c9 _
) f6 o$ ]# `, `& x
* X/ z. Z6 T3 o- O3 @
苹果真会玩!刷脸解锁~咦,这和马云爸爸之前演示过的刷脸解锁某宝真是real相似啊~
2 ^& A2 Z- L% V7 b, E% m  l  W" e$ R( @2 o0 X, d

! |: `6 D+ f& x" \# w1 F9 [5、可无线充电
$ c: _3 n( }; c5 C- U
3 v& h# m$ `8 I- T
5 Y6 z* R1 Q! _, d' X3 ?数据线不怕丢了?iPhone 7 无论是外观,还是功能上,都缺乏令人惊艳的突破,因此被戏称为“ iPhone 6ss ”。
; C" k+ {9 ~* y- B3 G
9 o0 @" p( K# O' P. I: r: t. ?+ q  P9 ~! n
6 ^- u$ G7 O; U- E' w) l$ ]! g4 d
0 O! o+ B* M/ F$ @; n
明年是 iPhone 诞生的第十周年,Apple 必须做出积极改变,才能满足愈加挑剔的消费者。据日经新闻称,富士康集团正在为下一代 iPhone、制造无线充电模块。
/ ~% b$ R# s: \8 W1 Q6 E
, ^0 [6 t6 E7 @! Z' Y3 Z4 `# j2 r  D! Q' }, E
5 E, `# e% q$ |+ |/ H  d

, X; F$ l5 c2 G: F8 T7 h虽然“ 无线充电 ” 早已不是什么新鲜事,但 iPhone 却迟迟没能加入这项功能,如果最终实现,大家终于可以摆脱 、该死的充电线了 !
( G# R9 u: X7 J, d* W
9 \$ W/ L4 w0 `  q9 R4 ~  R
  V8 ^! c9 }) j& V

8 m* _% M( G. R3 A, J' {  ^/ m5 E7 s; z% |3 a
当然,考虑到 Apple 一向严苛的标淮,富士康的无线充电模块、能否满足其要求还不得而知。  A9 [; {/ J; Z' e0 a
3 k' a3 S# E! L  f: I
0 S& U2 x4 ~' o3 {1 \

( J/ y1 }: K( j. s
- [' X* t1 D  z  F( U: |1 s但考虑到 iPhone 6s“ 自动关机 ”事件,升级 iOS 10.1.1 之后自动耗事件,苹果的电池,一直是个大问题啊。
2 J0 o, `' N. e" q
) n5 u- J% Q/ B: |' }
' R, o5 \& `* W(小清新功能)
1 ]+ k, w- S3 z7 ]& V+ J; q/ e传言新款苹果手机背后的小苹果Logo,将会变成一个辅助“屏幕”,除了能提示你电池充电情况,还能在你收到短信时,让小苹果发光提示你。+ ~/ Q. o# n& W- s, r- n9 @
( v* N2 }2 i# ~. t- S, R

: [! F5 s5 y" W- o

2 h( D5 e. X- E" A
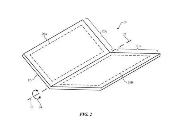
% v$ ~3 g6 ]: z5 V" H6、iPhone 8 还tm可折叠?
3 B) _/ m: R3 B9 [5 ]  S) T0 a- ?( ^
# s) w% t+ e+ j) H' b  e. Q7 J) Z" w1 o
这我就真的不信了。之前继 SHARP CEO 透露下一代,iPhone 将采用的是、可卷式 OLED 屏幕。国外网站 Patently Apple 又曝光、Apple 已于 11 月、获得了“ 可折叠 iPhone ”的专利。
# ?$ \: u4 s' O: p
3 s3 D* h# S0 _; I- j$ t. b& B+ f( b7 X

, t0 |  E- S4 ?- B9 n, E* n# X8 L1 A3 H! L  }- @
其实 Apple 一直在探索“ 可折叠 iPhone ”的可能性,专利材料中明确提到,未来 iPhone 材质内部的碳纳米管、可让 iPhone 实现从中间向下翻转,并且具备防裂功能。, F% f6 |+ b2 |+ |9 W7 U

8 s: Z8 M+ ~4 L( }/ |7 d9 H+ i; [' }  t& m2 M" k. {+ T9 \+ q8 g
3 E* J. @: C3 ?! g

- G) M" i. B8 p" x& UApple 的主要竞争对手 Samsung,也一直在研发可折叠手机,不过这些专利、明年有可能实现吗?强行意淫,最为致命,这个真先不信。1 y6 E- l3 m& \. @" x
9 g9 l3 h# v0 ~

# l8 V* u9 k' i* S同时,针对中国市场,iPhone 8可能还会有特供中国人民的双卡双待!!又有消息传出,iPhone 8 将支持 IP68 级别的防水防尘,这意味着手机可以在水下1.5米浸泡30分钟而毫发无损。这也让iPhone 8防水等级更加强悍,以后就可以在水底拍珊瑚啦。
+ O( N( F& h  S2 n& n6 H9 X- |) X
  X3 m0 I& S7 t3 ~# B7 v! r
7 f/ T9 N/ Z1 l( K5 k  M! G

3 G) X! R4 x& m: J# @受到亮黑色iPhone 7遭抢购的刺激,iPhone 8 此次将推出全新配色——亮葡萄酒,就是这么低调上档次。据说还有全新的法拉利红配色!
* ~1 N8 h7 S  M% c+ A5 \! i2 Q. `% T9 L% L, V6 g# T8 p9 m: o6 R3 b

' N" Y8 `* e- ]. m1 h  x8 Z0 ]$ f
2 R, P3 X1 ^1 z$ Y' p

5 _5 c6 K0 [/ w! w0 r2 H4 m7、三款型号的 iPhone 8
3 H! V; x; Q2 V6 g! f9 n6 X& O0 ~) S. R7 X4 n
在 iPhone 7 推出后,外界对于明年 iPhone 8 猜测传言已铺天盖地。
+ b3 G2 |2 _# n) o; R: F& f
- [: k3 O( ^! s: l
" y% d) @, x2 E* EApple 或将于明年推出三款型号 iPhone 8:# i3 e& g) p! D9 T& J+ [
4.7 英吋、LCD 显示屏、单摄像头。2 }2 }! W" U4 S  s( M, w
5.5 英吋、LCD 显示屏、双摄像头。
- G) C' X5 X6 G1 ]% t3 r1 D5 r5.5 英吋、OLED 显示屏、双摄像头。' R/ ~/ M/ G  K2 T+ E
/ a: J- N" v' C" g( B/ H) y* i7 g* I2 U

! H1 N; f4 P8 A1 [

/ v5 ]$ A! _% A
* F+ \: E4 [* Q1 [0 t/ z这样的iPhone 8,宝宝们你们期待吗?
! h# X% f. `* s: r5 M. x
- x4 i7 g& S# T1 B2 W  [7 Y: g( J0 p3 a2 E/ m
! M& H6 d" M+ p2 B6 I

. [" }, \6 l3 i, X8、售价
3 J! t" x9 A# t6 ]0 T- b5 V# S9 l/ e  t) `* @7 H

, Y0 @- [& c3 Y/ p其实,从去年开始,苹果官方貌似迫不及待宣布了iPhone手机在全球范围的累计销量,想必当时10亿部这个数量是震惊到我们了。而时至今日,虽然总体来说拿苹果手机的小伙伴多了、甚至有了成为街机这一说法,但这种销量事实已然无法说明苹果还是处于神坛高高在上的地位了。1 ]5 c5 C7 \: P$ K; S0 P! f

# t. s: K% h* `) F- q6 r; ^3 z( u5 y( b4 O+ K
或许这就是十年之约吧(开个玩笑)!从2007年就推出的iPhone手机走到今天,十年时间不容易啊,而这个发展历程也让iPhone手机的“贵族”象征沦为街机,可能我们不应该去批判它越来越没创新亮点,但至少更应该认清国产手机中国造的强势发展。
* x4 h5 q. o" g! r& z1 c' Y+ K# _. y# r6 ~3 y1 ]; E9 O2 c
! A/ Z8 Z7 R, ?4 g7 V6 _- l: \% Z. J
当然,关于大家关心的售价问题,据说iPhone8将成为历史最贵的iPhone,除了包含很多新科技之外,自从川普登基之后,就一直催着苹果要回美国生产,所以,你还想价格能便宜一点?
/ i: e& \: _( D* ~! |4 A4 ~+ q
' i2 D' s4 g; P0 {+ d  a2 b) o% S; N+ N
9 ?1 n6 y) {0 a4 s
; l/ o% G  h8 N! m; h4 v
有传言称,一台256GB的iPhone 8价格可能会达到1200美元(约合8300元人民币左右)。如果再加上开售前的炒价,iphone8的售价可能会高达15000元人民币。所以,到时候小编估计要两个肾才能买到iphone8了。1 ~3 f. y$ }9 ?7 k# O5 Y

* Z; m+ M! q" H
$ x1 |& J! t( t; h' T3 |. u就不知iPhone8手机在今年的发布会上会不会跳票、抑或早些时候跟大家见面了。在我们期待之余,看来苹果更应该加把劲了,毕竟能否止住去年销量下滑趋势就看这一次的iPhone8了,而从相关曝光消息来看还是蛮多创新亮点供其奋力上升滴。当然,国产手机中国造也要加油!1 m; H. C6 G% Q* D  Y% P

! x( x: r: q9 f; A' i

转载请保留当前帖子的链接:https://www.beimeilife.com/thread-43795-1-1.html 谢谢

使用高级回帖 (可批量传图、插入视频等)快速回复

您需要登录后才可以回帖 登录 | 注册

本版积分规则   Ctrl + Enter 快速发布  

发帖时请遵守我国法律,网站会将有关你发帖内容、时间以及发帖IP地址等记录保留,只要接到合法请求,即会将信息提供给有关政府机构。
快速回复 返回顶部 返回列表